深海電液執行器
來源:上海茄子视频色版閥門科技有限公司 作者:茄子网站下载APP蝶閥球閥執行器廠家 點擊量:1586



品牌:上海茄子视频色版
驅動能源: 電液執行器
型號: FDQ係列
標準: 國標
壓力環境: 常壓
加工定製: 是
產品用途: 石油、化工、電力、能源、船舶、冶金、建材、造紙、鍋爐設備
驅動能源: 電液執行器
型號: FDQ係列
標準: 國標
壓力環境: 常壓
加工定製: 是
產品用途: 石油、化工、電力、能源、船舶、冶金、建材、造紙、鍋爐設備
聯係客服 13917586261
【產品概述】
深海電液執行器具有行程大、推力或力矩大、智能化程度高、響應時間快、靈敏度高、機構緊湊、防火等特點。帶智能模塊,能實現自動回轉功能,自帶超負荷安全保護,可在現場/遠程進行閥門開、關操作,可選擇調節型以及開關型控製模式,現場帶電液閥門開度顯示以及全開全關位置指示,故障報警指示等功能。本係列執行機構為90度角行程類型,雙作用齒條油缸推動齒輪擺動。
智能型深海電液執行器由支架,雙作用齒輪齒條執行機構、液壓動力源和電氣控製係統組成。 其中液壓動力源包含電機泵組以及手動泵。
表1 DN900蝶閥深海電液執行器參數表
型號 | FDM62014-500 5000NM | |
1 | 產品類型 | 智能型角行程深海電液執行器 |
2 | 工作扭矩 | 100-8000 N.M(@8.5MPa) |
3 | 上限扭矩 | 8000 N.M(@14MPa) |
4 | 行程角度 | 0~90° |
5 | 啟閉時間 | 約22S |
6 | 防護等級 | IP67 |
7 | 動作類型 | 調節型 |
8 | 電機電製及功率 | 380VAC,50Hz ,750W |
9 | 電機轉速 | 2800 r/rev |
10 | 油泵排量 | 0.88cc/rev |
11 | 油泵額定壓力 | 8.5MPa |
12 | 油泵上限壓力 | 16MPa |
13 | 油缸直徑及工作行程 | 缸徑100 mm,行程123mm |
14 | 工作容腔 | 966 ml |
15 | 輸入信號類型 | 4 mA ~20mA,對應0-100%開度 |
16 | 輸出信號類型 | 4 mA ~20mA,對應0-100%開度 |
17 | 就地電氣接口 | 2個M25×1.5格蘭頭 |
18 | 帶手動操作 | 10cc/按,21MPa,啟/閉滿行程按壓31次 |
電機:三相交流電機,帶溫度過熱保護,750W,2800rpm;
油路塊:采用航空鋁合金6061材質加工,黑色硬質陽極氧化表麵處理,表麵硬度高且耐腐蝕;
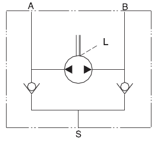
油泵:雙向齒輪泵,排量0.8cc/rev,上限壓力16MPa,上限轉速4000rpm,集成雙向的補油單向閥;

圖1 雙向齒輪泵液壓原理圖
溢流閥:調定係統壓力,出廠時已設定,具體根據現場閥門情況調整,可避免開啟/關閉力過大損壞閥門;

圖2 開閥/關閥壓力調節溢流閥
調節時,先鬆開鎖緊螺母,用5mm內六角扳手轉動調節杆,順時針旋入,壓力升高,每轉壓力升高約3MPa;逆時針旋出,壓力降低,每轉壓力降低約3MPa;
注:執行機構已調定為行程限製模式,到開啟/關閉上限行程後電機停止轉動,正常情況下溢流閥不會開啟溢流;若發現閥門開啟/關閉時(未到達極限位置),在中間位置無法正常開啟/關閉,則按照上麵說明調高溢流閥壓力,閥門即可實現開啟/關閉;
●手動泵及手動閥:手動泵10cc/行程,緊急情況下,可以通過手動泵,來推動執行機構動作。通過旋轉手動閥,切換油路方向,實現閥門手動開啟/關閉。
【雙作用齒輪齒條執行機構】

圖3 雙作用齒輪齒條執行機構
齒輪齒條執行機構缸筒兩側設置有機械限位調節杆,用於防止誤動作導致執行機構開啟/關閉閥門超越位置,防止閥門卡死。其中,麵對執行機構時,右側為關閥門限位調節螺釘,左側為開閥門限位調節螺釘;
注:左右兩側機械限位調節螺釘,在出廠時已調定好,不建議用戶調節(調節不當可能會引起漏油風險);若發現開閥和關閥不到位調節時,先用內六角扳手固定調節杆,用扳手擰鬆密封螺母,然後旋轉調節杆。旋轉完成後,保持調節杆位置不變,擰緊密封螺母。
【電氣控製係統】
一、就地電氣控製係統
就地電控係統,具有非侵入免開蓋操作,死區自適應不振蕩,故障自診斷及保護功能,現場操作點動和保持自適應,遠控信號和閥位信號實時查詢等功能,集成有伺服控製單元、液晶顯示單元、旋鈕操作等單元,操作簡單,保護功能完善,界麵可讀性強。
二、接線圖

圖4 就地接線盒
表2 接線端子定義表
注:使用時需要接地!可以通過接線盒蓋上的固定螺釘進行接地。

圖4 就地接線盒
表2 接線端子定義表
接線端子代號 | 接線方法 | 備注 |
L1,L2,L3 | 三相380V AC | 不分相序,內部自動校正 |
2 | 常閉觸點,異常報警時斷開 | 係統報警信號: ●油位過低; ●電機過熱; 報警時顯示屏顯示FE |
3 | 報警公共端 | |
27,28 | 4-20mA比例控製信號 | |
13,14 | 4-20mA比例反饋信號 |
注:使用時需要接地!可以通過接線盒蓋上的固定螺釘進行接地。
三、電氣操作

圖5 就地電氣控製盒
【友情提示】上海茄子视频色版自動化儀表有限公司專業生產銷售各類茄子网站下载APP蝶閥、茄子网站下载APP球閥、茄子网站下载APP閘閥等茄子网站下载APP閥門、茄子网站下载APP執行器、茄子成人短视频執行器、茄子成人短视频閥門、氣動閥門,上海茄子视频色版秉承“誠信為本,客戶至上”的企業宗旨,專業為您提供規格型號齊全、質量穩定、價格合理的深海電液執行器產品,歡迎前來谘詢報價。
【生產環境】
電液聯動執行器 | 沒有了